Tergicristalli, cosa sono e come funzionano

Tecnica
20 settembre 2017, 12.30
tergicristalli
Un tergicristalli è un dispositivo usato per eliminare dal parabrezza pioggia, neve e polvere. Ne è presente almeno uno su tutte le auto, per imposizioni di legge. Si siamo d'accordo: non è un oggetto esclusivo delle autovetture, ma lo troviamo anche su altri veicoli come bus, tram, locomotive, aerei e navi. Sembra un oggetto semplice, ma non è per nulla scontato il suo funzionamento e la sua efficacia.

Quando nasce il tergicristalli?

L'inventore J. H. Apjohn trovò un metodo per muovere due spazzole su e giù su un parabrezza nel 1903.
Si ritiene invece che Mary Anderson abbia inventato il braccio di oscillazione per il tergicristalli negli Stati Uniti, paese in cui brevettò l'idea nel 1905. Questa donna era una viaggiatrice, ma purtroppo non era in grado di guidare, perciò era sempre costretta a prendere un taxi; Quando pioveva ed era su un taxi il tassista era sempre costretto ad accostarsi e intanto il tassometro saliva allora un giorno inventò i tergicristalli. La novità fu vista inizialmente con diffidenza, ma diventò dotazione standard di tutte le auto americane dal 1916.
tergicristallo tecnica
Nell'aprile 1911 il primo brevetto inglese per i tergicristalli fu registrato da Gladstone Adams di Whitley Bay. Alcuni dei primi progetti per tergicristalli sono attribuiti anche a Józef Hofmann, meglio conosciuto come pianista.
Nel 1969 appaiono sul mercato i primi tergicristalli ad intermittenza, cioè con un ritardo nell'oscillazione, ritardo che poteva essere a sua volta regolabile. Robert Kearns è ritenuto l'inventore dell'intermittenza per tergicristalli: la sua paternità sull'innovazione è stata ottenuta solamente dopo una dura battaglia legale con la casa automobilistica Ford. Da questo episodio è stato tratto il film Flash of Genius.
Nel 1970 la Saab introdusse i tergifari nella produzione. Solo verso la fine del XX secolo fanno la loro comparsa i tergicristalli intelligenti, sulla Buick Park Avenue Ultra. Successivamente anche gli altri principali produttori li hanno adottati.

Come funziona?

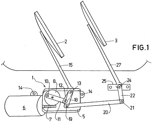
Un tergicristallo è costituito solitamente da:
  • Braccio o elemento rigido, che viene mosso dal motorino d'azionamento dei tergicristalli e sorregge il telaio della lama.
  • Telaio sorreggi lama, è la struttura che sorregge la lama, fino al 1998 era esclusivamente formata da vari elementi metallici o in materiale plastico di cui l'elemento principale era il portante e si connetteva al braccio, mentre altri elementi più piccoli del tipo a mezzaluna o pantografo erano agganciati a quest'elemento portante e snodati rispetto a esso, inoltre sorreggono la lama, mentre a partire dal 1999 la Bosch ha introdotto telai senza snodi, costituiti da un solo elemento, definiti "aerotwin". Alcuni telai, generalmente il secondo nei sistemi a due tergicristalli può essere leggermente arcuato, in modo da concentrare l'acqua al centro o ai lati durante il suo movimento.
  • Lama o gommino è un elemento di gomma di varia forma, che si muove sul vetro, spingendo via l'acqua dalla superficie.
Il "telaio" accoppiato alla "lama" forma la spazzola. La velocità è di solito regolabile e il movimento può essere selezionato tra continuo o intermittente.
tergicristallo tecnica
La maggior parte delle auto usa due braccia "radiali" sincronizzate, mentre alcuni veicoli commerciali usano uno o più braccia pantografiche; la Mercedes-Benz ha introdotto un sistema chiamato Monoblade, in cui un solo tergicristallo si estende per avvicinarsi agli angoli e si ritrae al centro, tracciando un percorso a 'W'.
Alcune auto di grossa cilindrata sono equipaggiate con tergicristalli a scomparsa. Quando essi sono spenti un meccanismo li sposta verso l'estremo inferiore del parabrezza e li nasconde alla vista grazie alla copertura del cofano, migliorando l'aerodinamica e l'estetica.
I tergicristalli possono funzionare in diversi modi, anche se la maggior parte di essi è alimentata da un motore elettrico attraverso una serie di componenti meccanici, tipicamente 2 connessioni a 4 braccia in serie o parallele. I veicoli con freni ad aria compressa, come i camion, alcune volte usano tergicristalli azionati ad aria, attraverso un meccanismo che porta l'aria dal sistema frenante ad un motore posizionato appena sotto il parabrezza.
La maggior parte dei tergicristalli agisce insieme al lavacristalli quando questo viene azionato, una pompa che fornisce acqua e detergente da un recipiente al parabrezza attraverso piccoli beccucci posti sul cofano o sui tergicristalli stessi (wet-arm).

Se non ci fosse?

Se non ci fosse o se si guastasse in caso di pioggia o sporco sarebbe un bel rischio continuare il viaggio con visibilità quasi zero.
tergicristallo tecnica

Come interagisce con il guidatore?

Quelli automatici, con sensore pioggia, non hanno neppure bisogno di esser comandati, partono e si fermano in automatico.
La manutenzione dei tergicristalli può essere del tipo:
  • Sostituzione della lama, in questo caso si sostituisce solo la lama, lasciando il telaio che la sorregge.
  • Sostituzione della spazzola, in questo caso si sostituisce sia la lama che il telaio.
tergicristallo tecnica
Questa deve essere effettuata quando la lama si sia invecchiata e non riesca più ad eseguire il suo lavoro, visto che con il tempo si usura e s'irrigidisce, per quest'ultima evenienza si può leggermente correggere con la rotazione della lama sul telaio del tergicristallo, il che permette d'allungare leggermente la vita alla lama. Noi consigliamo di cambiarli regolarmente per non compromettere la visibilità del nostro parabrezza.
loading

Le Più Lette

Loading