Porsche ha brevettato un motore a sei tempi: ecco come funziona

Tecnica
18 settembre 2024, 11.43
porsche logo 1200x848 1
Porsche ha brevettato un motore a sei tempi che aggiunge due fasi al ciclo tradizionale, aumentando potenza ed efficienza. Il sistema utilizza un particolare albero a gomiti che modifica il movimento del pistone, migliorando la combustione della miscela.
Sebbene sia una soluzione complessa, questo brevetto dimostra l’impegno di Porsche nel cercare nuove strade per innovare i motori a combustione interna, nonostante la crescente diffusione dei veicoli elettrici.

Porsche e l’innovativo motore a sei tempi: un’idea rivoluzionaria

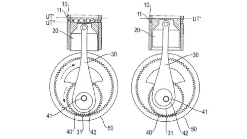
porsche six stroke combustion engine patent
Porsche ha recentemente brevettato un innovativo motore a sei tempi, che potrebbe rappresentare un’evoluzione significativa rispetto ai tradizionali motori a quattro tempi, utilizzati dalla stragrande maggioranza delle auto a combustione interna. In un motore a quattro tempi, il ciclo si compone di quattro fasi: aspirazione, compressione, espansione (dove viene prodotta potenza) e scarico. La proposta di Porsche introduce due fasi aggiuntive tra l’espansione e lo scarico, creando una sequenza di aspirazione-compressione-espansione seguita da compressione-espansione-scarico.
Il cuore di questo nuovo sistema risiede in un particolare albero a gomiti, progettato per ruotare su un anello con due cerchi concentrici, che altera il punto di rotazione del pistone. Questo meccanismo fa sì che il pistone esegua una corsa più lunga in fase di espansione e una più breve in fase di compressione, con l’obiettivo di bruciare la miscela di aria e carburante in modo più completo, aumentando così l’efficienza e la potenza. In un motore tradizionale, solo una corsa su quattro genera potenza, mentre con il design Porsche questa proporzione aumenta a una corsa su tre.
porsche 911 gts engine
Un sistema così complesso presenta anche sfide ingegneristiche significative, e non è certo se Porsche deciderà di implementare effettivamente questa tecnologia sui suoi veicoli. Come avviene per molti brevetti, il progetto potrebbe rimanere solo un concetto teorico. Ciò che è chiaro, però, è che Porsche sta esplorando nuove soluzioni per migliorare i motori a combustione interna, nonostante la crescente spinta verso l’elettrificazione del settore automobilistico. Questo brevetto è un segnale dell’impegno della casa automobilistica tedesca nel cercare di mantenere viva l’innovazione in un’epoca di grandi cambiamenti per l’industria.
loading

Le Più Lette

Loading