Hyundai scatenata: ecco il volante che integra il quadro strumenti digitale

Notizie
07 ottobre 2021, 21.30
eca9d6ae 0475 46a4 bf53 ee2070d4f5c3
Hyundai ha depositato il brevetto per un curioso volante che integra al suo interno un display digitale e no, non è un pesce d'aprile, anche perchè il mese che si affaccia sulla primavera è ben lontano dal divenire. Contagiri, conta chilometri, una manciata di spie e un posto sicuro dietro il volante, fino a qualche anno fa, queste erano le certezze di qualsiasi automobilista che si apprestava a salire su una vettura.

Il volante con schermo digitale di Hyundai è in buona compagnia

In tempi più recenti il quadro strumenti è stato più volte stravolto, prima di tutto rendendolo totalmente digitale. Peugeot con il suo i-Cockpit (adesso anche 3D) lo ha spostato sopra il volante, Tesla con la Model 3 lo ha integrato nello schermo dell’infotainment, la nascente casa automobilistica Byton ha perfino montato un enorme schermo che corre per tutta la plancia e, se non bastasse, addio tasti al volante meglio un touchscreen. Esistono esempi anche meno recenti e di auto vendutissime che hanno proposto variazioni sul tema, una per tutte la celebre prima generazione di Renault Twingo, che proponeva un all’ora innovativo quadro digitale monocolore verde posizionato molto in alto e al centro della plancia. Per chi volesse approfondire vi rimandiamo al nostro articolo sui vari schermi dell’infotainment.

Il volante con schermo digitale di Hyundai: per innovare è necessario esagerare?

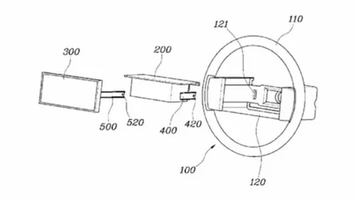
Hyundai al cospetto di tanta sperimentazione e tripudio di schermi non poteva certamente rimanere a guardare. Così si è pensato di creare una chimera il: “volante-quadro strumenti”.
La strumentazione non sarà mai più nascosta dalle mani sul volante e i comodi tasti da premere smetteranno di essere i protagonisti dei vostri incubi, tutto sarà integrato sullo schermo incastonato sul volante. La domanda che il lettore si starà ponendo è scontata: durante un incidente il prezioso schermo sarà adeguatamente protetto? Per fortuna il brevetto Hyundai spiega con chiarezza come l’airbag riesca ad aprirsi senza danneggiare il quadro strumenti e, immaginiamo, al contempo proteggendo il conducente del veicolo.
9a9e86d9 a8ab 4d4c aae6 85c2af5dafe3

Il volante con schermo digitale di Hyundai: la questione sicurezza non va trascurata

Al netto di facili ironie, una grande azienda produce innumerevoli brevetti a cui non è sempre facile “dare un senso” e che spesso non vedono neanche la luce nel mondo reale. Sperimentare è alla base dell’innovazione, tuttavia c’è da chiedersi se l’innovazione è sinonimo di schermi touch ovunque e a ogni costo. Oltre a ciò uno schermo in quella posizione richiederebbe a chi guida di distogliere lo sguardo dalla strada molto di più rispetto a qualsiasi quadro strumenti classico o pulsante fisico sul volante. Certamente le auto saranno sempre più intelligenti e autonome, ma finché ci sarà un volante e un piantone dello sterzo l’attenzione del conducente sarà sempre imprescindibile.
loading

Le Più Lette

Loading